前两天,国外主机测评刚刚发布了 LightLayer 新推出的新加坡原生 IP 云服务器(VPS)。这款产品默认提供纯正的新加坡本地 IP,能够完美解锁新加坡本地流媒体平台以及各类需要新加坡 IP 的业务,对于有新加坡 IP 需求的用户来说,是一个非常实用且高性价比的选择。
LightLayer 这批新加坡 VPS 采用中国优化线路,访问国内网站速度表现优秀,国内三网(电信、联通、移动)平均延迟较低,整体回国体验较为稳定。同时,得益于纯正新加坡原生 IP,它在本地流媒体解锁、AI 服务、跨境电商以及各类需要新加坡本地身份验证的场景中表现突出,能有效满足不同用户的需求。
下面为大家分享这款 LightLayer 新加坡原生 IP VPS 的详细测试数据,包括系统信息、磁盘性能、Speedtest、Ping 多节点延迟、三网 MTR 路由追踪、IP 风险评估以及流媒体解锁情况。
新加坡原生IP云服务器
以下为折后价格,购买请使用优惠码:SGDISC30
| vCPU | 内存 | 存储 | 带宽/月流量 | 带宽 | 价格 | 购买 |
| 1核 | 1 GB | 50GB SSD | 可选标准、优化、国际线路 | 10M不限 | $8.4/月 | 直达 |
| 1核 | 1 GB | 50GB SSD | 可选标准、优化、国际线路 | 20M@1TB | $8.4/月 | 直达 |
整体定位:这是一款低配入门级 VPS,适合轻量级应用,如小型网站、代理中转、开发测试、简单脚本运行等。不适合高负载、多线程密集型任务(如视频转码、大型数据库)。

CPU跑分、内存和磁盘dd/fio读写测试

fio即时读写

磁盘IO和带宽信息

speedtest亚洲节点测试:

speedtest国际节点测试:

IP信息:原生IP,可以解锁新加坡TikTok/Netflix/ChatGPT等

流媒体解锁情况

网络质量检测

国内三网回程路由:
电信出机房到中国香港走CTGNet/CN2回内地
北京 电信 AS54801 -> CTGGIA 地理路径:新加坡 -> 香港 -> 北京 自治系统路径:AS54801 -> AS23764 -> AS4809 -> AS4847 1 2.55ms 109.248.*.* AS54801 新加坡 2 0.85ms 10.148.*.* * RFC1918 7-8 40.44ms 203.144.*.* * 新加坡 电信 9-10 36.36ms 69.194.*.* AS23764 * 中国 香港 电信/CTGNet 12-13 80.27ms 59.43.*.* AS4809 [CN2-BackBone] * 中国 北京 chinatelecom.cn 电信 16 79.81ms 219.141.*.* AS4847 [CHINATELECOM-BJ] 中国 北京 bj.189.cn 17 79.71ms 36.112.*.* AS4847 中国 北京 bj.189.cn 19 83.03ms 106.37.*.* AS4847 [CHINANET-HN] 中国 北京 bj.189.cn 上海 电信 AS54801 -> CTGGIA 地理路径:新加坡 -> 香港 -> 上海 自治系统路径:AS54801 -> AS23764 -> AS4809 -> AS4812 1 1.91ms 109.248.*.* AS54801 新加坡 2 0.73ms 10.148.*.* * RFC1918 7 36.53ms 203.144.*.* * 新加坡 电信 8 47.75ms 69.194.*.* * 新加坡 香港 电信 9 38.37ms 69.194.*.* AS23764 * 中国 香港 电信/CTGNet 10 37.40ms 69.194.*.* * 中国 香港 12-14 60.87ms 59.43.*.* AS4809 [CN2-BackBone] * 中国 上海 X-I chinatelecom.cn 电信 15 65.74ms 101.95.*.* AS4812 [CHINANET-SH] 中国 上海 chinatelecom.cn 电信 21 63.37ms 101.226.*.* AS4812 [CHINANET-SH] 中国 上海市 chinatelecom.cn 电信 广东 电信 AS54801 -> CTGGIA 地理路径:新加坡 -> 香港 -> 广东 自治系统路径:AS54801 -> AS23764 -> AS4809 -> AS4134 1 2.76ms 109.248.*.* AS54801 新加坡 2 4.67ms 10.148.*.* * RFC1918 7 36.45ms 203.144.*.* * 新加坡 电信 8 36.56ms 69.194.*.* * 新加坡 香港 电信 9-10 37.21ms 69.194.*.* AS23764 * 中国 香港 电信/CTGNet 13 47.42ms 59.43.*.* AS4809 [CN2-BackBone] * 中国 广东 广州 chinatelecom.cn 电信 14 46.54ms 202.97.*.* AS4134 [CHINANET-BB] 中国 广东 广州 chinatelecom.com.cn 电信 17 45.32ms 14.18.*.* AS4134 中国 广东 广州 chinatelecom.com.cn 电信 21 49.21ms 183.47.*.* AS4134 [APNIC-AP] 中国 广东省 广州市 chinatelecom.com.cn 电信
北京联通AS10099到香港然后AS4837到内地,上海联通州NTT直连中国大陆,广东联通在新加坡走Level3到美国洛杉矶然后AS4837回国
北京 联通 AS328333 -> 10099 地理路径:新加坡 -> 香港 -> 广东 -> 北京 自治系统路径:AS54801 -> AS328333 -> AS10099 -> AS4837 -> AS4808 1 3.71ms 109.248.*.* AS54801 新加坡 2-6 0.87ms 10.148.*.* * RFC1918 7 55.44ms 163.181.*.* AS328333 [AL-3] 中国 香港 fixedmobile.com 8 35.65ms 162.245.*.* AS10099 [CUG-BACKBONE] 中国 香港 chinaunicomglobal.com 联通 9 35.52ms 61.14.*.* * 中国 香港 10 39.25ms 103.239.*.* AS10099 中国 香港 chinaunicomglobal.com 11-12 42.40ms 219.158.*.* AS4837 [CU169-BACKBONE] 中国 广东 广州 chinaunicom.cn 15 79.51ms 124.64.*.* AS4808 [UNICOM-BJ] 中国 北京 北京 www.bbn.com.cn 17 82.10ms 61.149.*.* AS4808 [UNICOM-CN] 中国 北京 www.bbn.com.cn 19 80.63ms 221.222.*.* AS4808 [UNICOM-BJ] 中国 北京 海淀 www.bbn.com.cn 上海 联通 NTT -> 4837 地理路径:新加坡 -> 北京 -> 上海 自治系统路径:AS54801 -> AS2914 -> AS4837 -> AS140979 1 3.24ms 109.248.*.* AS54801 新加坡 2 1.56ms 10.148.*.* * RFC1918 4 2.30ms 116.51.*.* AS2914 [NTT-GIN] 新加坡 gin.ntt.net 5 180.95ms 129.250.*.* AS2914 [NTT-BACKBONE] 新加坡 gin.ntt.net 7-8 105.29ms 219.158.*.* AS4837 [CU169-BACKBONE] 中国 北京 chinaunicom.cn 9 111.38ms 219.158.*.* AS4837 [CU169-BACKBONE] 中国 上海 chinaunicom.cn 联通 16 104.99ms 112.64.*.* AS140979 [APNIC-AP] 中国 上海市 闵行 chinaunicom.cn 联通 广东 联通 Level3 -> 4837 地理路径:新加坡 -> 美国 -> 广东 自治系统路径:AS54801 -> AS2914 -> AS3356 -> AS4837 -> AS17816 -> AS136958 1 13.61ms 109.248.*.* AS54801 新加坡 2 1.17ms 10.148.*.* * RFC1918 4 2.08ms 116.51.*.* AS2914 [NTT-GIN] 新加坡 gin.ntt.net 5-6 180.51ms 129.250.*.* AS2914 [NTT-BACKBONE] 新加坡 gin.ntt.net 7 2.99ms 4.68.*.* AS3356 新加坡 lumen.com 8-9 168.34ms 4.69.*.* AS3356 美国 加利福尼亚 洛杉矶 lumen.com 10-12 281.97ms 219.158.*.* AS4837 [CU169-BACKBONE] 中国 广东 广州 chinaunicom.cn 联通 13 288.50ms 120.86.*.* AS17816 [APNIC-AP] 中国 广东 广州 中国联通 联通 19 290.77ms 157.148.*.* AS136958 [UNICOM-GD] 中国 广东省 广州市 chinaunicom.cn 联通
移动线路出机房到中国香港走CTGNet/CN2回内地
北京 移动 AS54801 -> CTGGIA 地理路径:新加坡 -> 香港 -> 北京 自治系统路径:AS54801 -> AS23764 -> AS4809 -> AS4134 -> AS56048 1 22.01ms 109.248.*.* AS54801 新加坡 2 1.34ms 10.148.*.* * RFC1918 7 76.68ms 203.144.*.* * 新加坡 电信 8 36.57ms 69.194.*.* * 新加坡 香港 电信 9-10 36.39ms 69.194.*.* AS23764 * 中国 香港 电信/CTGNet 12-13 73.82ms 59.43.*.* AS4809 [CN2-BackBone] * 中国 北京 chinatelecom.cn 电信 14-15 79.88ms 202.97.*.* AS4134 [CHINANET-BB] 中国 香港 chinatelecom.com.cn 电信 19-22 110.32ms 211.136.*.* AS56048 [CMNET] 中国 北京 bj.10086.cn 移动 24 112.93ms 211.136.*.* AS56048 [CMNET] 中国 北京 bj.10086.cn 移动 上海 移动 AS54801 -> CTGGIA 地理路径:新加坡 -> 香港 -> 上海 自治系统路径:AS54801 -> AS23764 -> AS4809 -> AS9808 1 4.16ms 109.248.*.* AS54801 新加坡 2 1.01ms 10.148.*.* * RFC1918 7-8 36.37ms 203.144.*.* * 新加坡 电信 9-10 36.78ms 69.194.*.* AS23764 * 中国 香港 电信/CTGNet 12-14 61.57ms 59.43.*.* AS4809 [CN2-BackBone] * 中国 上海 X-I chinatelecom.cn 电信 20 69.42ms 117.185.*.* AS9808 [CMNET] 中国 上海市 chinamobileltd.com 移动 广东 移动 AS54801 -> CTGGIA 地理路径:新加坡 -> 香港 -> 广东 自治系统路径:AS54801 -> AS23764 -> AS4809 -> AS4134 -> AS56040 1 1.52ms 109.248.*.* AS54801 新加坡 2 0.60ms 10.148.*.* * RFC1918 7 36.77ms 203.144.*.* * 新加坡 电信 8 36.54ms 69.194.*.* * 新加坡 香港 电信 9 36.65ms 69.194.*.* AS23764 * 中国 香港 电信/CTGNet 10 36.55ms 69.194.*.* * 中国 香港 13 50.55ms 59.43.*.* AS4809 [CN2-BackBone] * 中国 广东 广州 chinatelecom.cn 电信 14 46.41ms 202.97.*.* AS4134 [CHINANET-BB] 中国 广东 广州 chinatelecom.com.cn 电信 19 51.40ms 183.235.*.* AS56040 [APNIC-AP] 中国 广东 广州 gd.10086.cn 移动 20 74.22ms 211.136.*.* AS56040 [CMNET] 中国 广东 广州 gd.10086.cn 移动 25 60.85ms 211.139.*.* AS56040 [CMNET] 中国 广东 广州 gd.10086.cn 移动
电信去程:CN2/CTGNet直连香港再到新加坡

联通去程:AS4837经香港AS10099直连新加坡

移动去程:走香港CMI直连新加坡

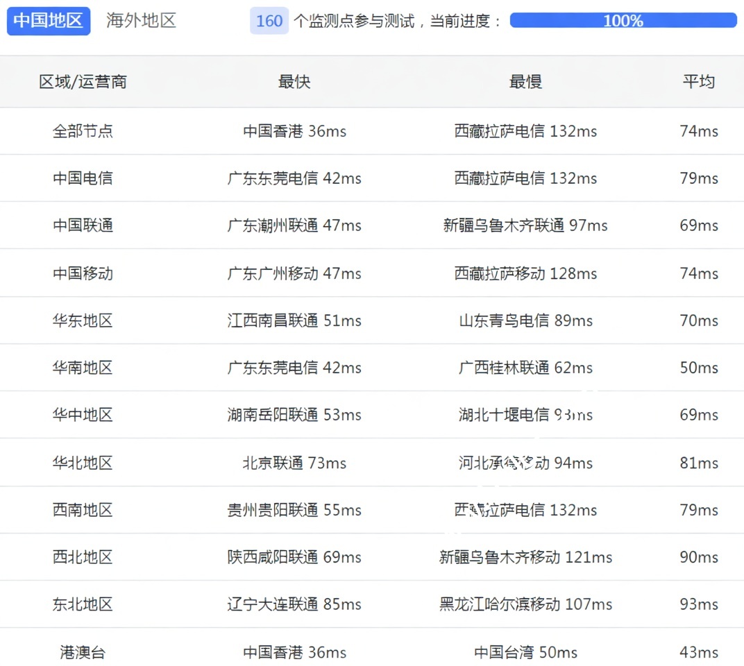
国内三网和港澳台延迟测试


国外主机测评






















